一、项目介绍
“悦企云”是悦达集团为积极策应国家“中国制造2025” “互联网+”行动计划,以及江苏省“万企上云”工程及盐城市“千企上云”专项行动要求,为产业互联网专门打造的产业云平台。该平台在阿里云核心的飞天云操作系统基础上,采用架构领先的分布式通过型专有云计算,为行业客户提供大规模、高可靠、自动化、定制化的云计算及大数据服务,帮助客户从繁琐的运维工作中解脱出来,更专注于业务层面和数据价值,从而在数据时代占据领先地位。
汽车金融全闭环封装系统是部署在悦企云上,由悦达融资租赁有限公司为满足汽车整车销售、拓展融资租赁业务,增强系统的征信解析、统计分析以及大数据利用而建立的公共服务平台。
二、系统建设情况
悦达融资租赁汽车金融平台自2018年4月正式启动起来,在项目领导的支持、协调及全体项目组成员的共同努力下,经过 8个月紧张有序的系统实施工作,现已完成系统上线。
系统建设情况:项目实施组通过前期对客户方的各部门需求采集、业务调研,对现有基础数据及业务流程梳理优化,完成了对系统进件、运营、风控、产品、财务、资管、合作伙伴等模块的需求进行分析整合。通过几个月的时间对汽车金融融资租赁业务的开发测试,已实现全流程业务闭环管理,极大地减少了人为错误。
培训完成情况:已成功开展管理员培训 2场,关键用户培训 16场,提供各部门培训教材及操作手册 10份。
三、主要功能说明
借助悦企云平台优势搭建的汽车金融平台,可以协助悦达融资租赁建立一个以汽车为核心的融资租赁业务应用平台,具体可实现以下功能:
1.加强业务全流程管理控制
公司根据悦达融资租赁业务需求搭建一个从自动化进件审批、运营管理,由风控到财务管理实现全面闭环的应用平台。该平台一可规范业务流程走向,降低人工审核风险,实现流程流转的高效管理,与财务应收应付的有效集成;二可加强产品管理,实现可预估的产品合理性、风控体系的紧密衔接;三可规范资产管理,通过系统提前预知资产车辆的具体信息,有效避免不必要的资产遗失风险,同时可以将资产打包转移变卖,并通过报表数据实时掌握资产最新动向。
2.加强合作伙伴管理控制
系统主要包括合作伙伴开户、企业信息管理等两大模块,实现了支持多种类型经销商进行开户申请,风控、运营审核经销商开户资料,支持平台查看各类经销商基础信息、修改经销商信息及相关基础数据配置等功能。
3.实现客户信息精准管理
系统可实现客户在客户端进行手机号、紧急联系人、通讯地址的变更,也可提交银行信息变更、合同变更、出险理赔的申请,交由租后人员进行审核。租后人员可以根据客户提交的审核信息进行各类文件的在线生成工作。
四、系统成果展示
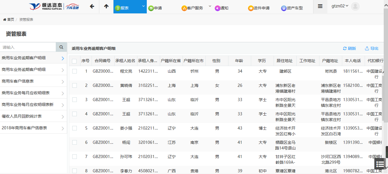
1.为资产管理业务的执行提供预警及报表支持,对逾期客户情况进行分析,支持逾期天数预警,后续对客户还款能力考核提供依据。

乘用车业务逾期客户明细
2.为系统进件配置审批审核池,既可以由部门领导指派单子给具体员工,也可以系统自动根据实际情况分派单子给员工,实现审批审核池智能化,保证每个流程流转的效率化。

进件审批审核明细
3.对汽车金融产品进行系统管理,此表包含了产品客户利率、实际利率、首付金额、融资额等信息,当客户在与运营客服部门沟通时,客服也能及时告知客户的每期还款金额及还款时间等相关信息。

产品明细表
悦达融资租赁汽车金融平台已在公司的各个业务管理中发挥着重要作用,其通过公司的进件、业务、产品、财务等各个部门及业务环节的集成,形成了一个共享、及时、准确的业务流程管理,有效地支持经营决策,达到项目预期的汽车金融管理要求,同时能强化对产品质量的控制、提前识别风险、降低人员成本,有效地提高了各部门对规范管理的认识,为企业长久、稳定和持续地发展奠定了坚实的基础。

